
Contact Hotline
0769-23103048 0769-23103048免費熱線:400-833-2669
固定電話:0769-23103048(楊小姐)
固定電話:0769-22013249(楊先生)
公司傳真:0769-23109526
您當前的位置:

【3T直聯式伺服電動缸產品優勢】:
3T直聯式伺服電動缸為玖容廠家非標定制產品,出力3噸,產品優勢:
1、極鋼結構本體,外部拉桿式結構設計,垂直使用時負載能力極強。
2、高負載,高精度定位特性;精密行星滾性絲桿驅動。
3、結構緊湊,底座雙軸承結構設計導向精度高。
4、極高使用壽命;8000KM以上,產品質保1年。
【3T直聯式伺服電動缸結構組成】:
【3T直聯式伺服電動缸選型】:
1、電動缸出力噸位( )噸。
2、電動缸行程( )mm。
3、電動缸工作速度( )mm/s。
4、重復位置精度要求( )mm。
5、推桿連接方式(內螺紋、外螺紋、關節軸承)。
6、缸體連接方式(前法蘭、后法蘭、鉸接)。
【電動缸規格及常見形式】:
【3T直聯式伺服電動缸獨有優勢】:
不需要復雜的成套系統支持 (包括泵,管道,閥門,過濾器,很多接頭等);
可以節約很多的空間,而且在無維護的情況下,安全可靠的工作;
沒有油污的污染,大幅度降低噪音,保持潔凈安靜的工作環境。
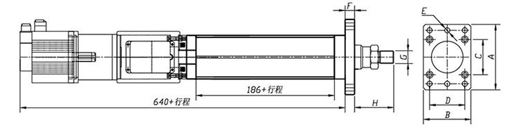
【3T直聯式伺服電動缸外觀尺寸圖】:

【3T直聯式伺服電動缸安裝尺寸表】:


東莞市玖容氣動液壓設備有限公司是一家30年專注研發生產制造氣液增壓缸、氣液增壓器、氣液增壓機、氣體增壓泵、倍力氣缸等氣液轉化元件之相關高新科技企業,擁有行業內完善的行業綜合解決方案,幫助過3000多家企業進行了針對性產品定制,服務過上萬家客戶。

公司1992年成立于臺灣省新竹縣。擁有一批資深的研發團隊,專業致力于氣液轉化元件的研發與生產。經多年磨練,現公司研發產品有:氣液增壓缸、氣液增壓機、氣液壓力機、氣液增壓器、空氣增壓泵、倍力氣缸、電動缸、伺服壓力機等系列氣動液壓設備。該類產品均采用現代先進設備(CNC)制造,配選日本,意大利等知名品牌密封件,其設計新穎,性能獨特,所生產產品均能達到“出力大,速度快,精度高,壽命長,無泄漏,節能源”等優點。



![]() | ![]() | ![]() |

東莞市玖容氣動液壓設備有限公司
咨詢熱線:400-833-2669
電話:18925544859黃小姐
傳真:0769-23109526
郵箱:[email protected]
網址:www.cdglmd.com,www.jrzyq.com,www.twjiurong.com
地址:廣東省東莞市東城街道峽口沙嶺工業西路21號
